| Серия | РЛНД |
| Номинальный ток, А | 630 |
| Наличие товара | Под заказ |
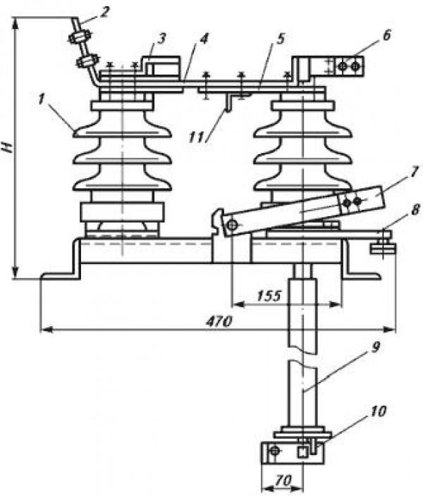
Разъединитель РЛНД-1-10Б/630 УХЛ1
Разъединители трехполюсные РЛНД 10/630 предназначены для универсального использования в высоковольтных сетях и на открытых подстанциях переменного тока частотой 50 Гц секционирования сетей и отсоединения от сети потребителей без тока нагрузки, для образования видимого промежутка в линии
Структура условного обозначения разъединителя РЛНД-1-10Б/630 УХЛ1
|
Наименование |
Единица измерения |
Значение |
|
Номинальное напряжение |
кВ |
6-10 |
|
Наибольшее рабочее напряжение |
кВ |
12 |
|
Номинальный ток |
А |
630 |
|
Ток термической стойкости: |
||
|
для ножей заземления в течение 1 с |
кА |
10 |
|
для главных ножей в течение 3 с |
кА |
10 |
|
Наибольший пик номинального кратковременного выдерживаемого тока (ток электродинамической стойкости) |
кА |
25 |
|
Длина пути утечки внешней изоляции, не менее |
см |
30 |
|
Допустимая механическая нагрузка на выводы с учетом влияния ветра и гололеда, не менее |
Н |
200 |
|
Электрическое сопротивление главного контура |
Ом |
175×10-6 |
|
Наибольшее усилие, прилагаемое к приводу при длине рукоятки оперирования вместе с удлинителем не более 10 м |
Н |
245 |
|
Масса, не более |
кг |
38 |
|
Габаритные размеры |
мм |
1200×470×385 |


