+7 (343) 213-22-11

e-ural@mail.ru

Производство высоковольтного оборудования

Разъединитель серии РЛНД

Характеристики
Серия РЛНД
Номинальный ток, А 200
Наличие товара Под заказ

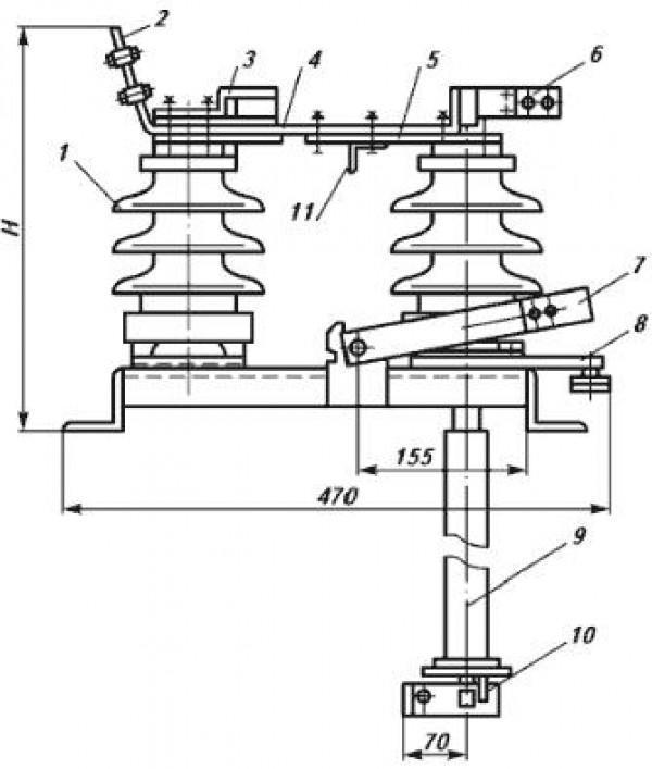
Разъединитель РЛНД-1-10Б/200 УХЛ1

Разъединители трехполюсные РЛНД 10/200 - предназначены для универсального использования в высоковольтных сетях и на открытых подстанциях переменного тока частотой 50 Гц секционирования сетей и отсоединения от сети потребителей без тока нагрузки, для образования видимого промежутка в линии.

Структура условного обозначения разъединителя РЛНД-1-10Б/200 УХЛ1

  • Р – разъединитель
  • Л – линейный
  • Н – наружной установки
  • Д – две опорно-изоляционные колонки
  • 1– количество заземляющих ножей
  • 10 – номинальное напряжение, кВ
  • Б – исполнение изоляции по ГОСТ 9920-89
  • 200 – номинальный ток, А
  • УХЛ1– климатическое исполнение и категория размещения по ГОСТ 15150-69

 

  • Технические данные разъединителя РЛНД-1-10Б/200

Наименование

Единица измерения

Значение

Номинальное напряжение

кВ

6-10

Наибольшее рабочее напряжение

кВ

12

Номинальный ток

А

200

Ток термической стойкости:

для ножей заземления в течение 1 с

кА

10

для главных ножей в течение 3 с

кА

10

Наибольший пик номинального кратковременного выдерживаемого тока (ток электродинамической стойкости)

кА

25

Длина пути утечки внешней изоляции, не менее

см

30

Допустимая механическая нагрузка на выводы с учетом влияния ветра и гололеда, не менее

Н

200

Электрическое сопротивление главного контура

Ом

175×10-6

Наибольшее усилие, прилагаемое к приводу при длине рукоятки оперирования вместе с удлинителем не более 10 м

Н

245

Масса, не более

кг

38

Габаритные размеры

мм

1200×470×385

Вернуться к разделу